Корпус БМО-Т

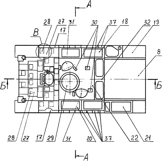
Корпус БМО-Т, вид в плане

Корпус БМО-Т (вид в плане), крыша надстройки не показана

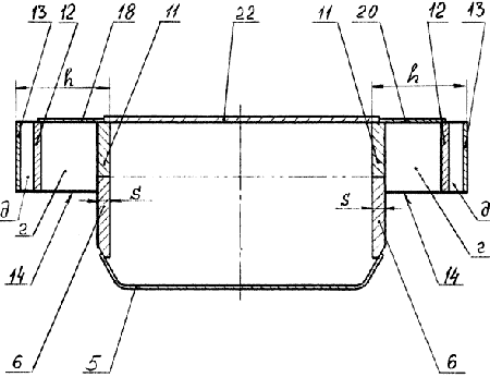
поперечное сечение А-А

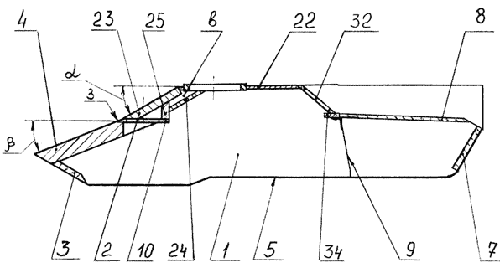
продольное сечение Б-Б

Часть наружной бонеплиты передней стенки надстройки (вид В)
1 – корпус
2 – проем под люк механика-водителя
3 – нижний лобовой лист
4 – верхний лобовой лист
5 – днище
6 – борта
7 – кормовой лист
8 – крыша МТО
9 – моторная перегородка
10 – крыша
11 – внутренняя плита
12 – промежуточная плита
13 – наружная плита
14 – горизонтальная плита
15, 16 – поперечные перегородки
17, 18, 19, 20, 21 – верхние плиты
22 – крыша
23, 24, 25 – плиты
26 – вертикальные вставки
27 – броневые плиты
28 – съемные крышки
29, 30, 31 – проемы под установку
вооружения, приборов наблюдения и люков огнеметчиков
32 – задняя стенка
33 – герметичные броневые дверцы, которые открываются вверх в сторону носа машины
34 – поперечная балка