Объект 640 «Черный
орел»

поворотная башня в
плоскости оси цапф пушки
16 –
изолированный отсек пушки
23 – погон
башни
51 – амбразура
52 – колодцы под ее цапфы
53, 54 – продольные броневые листы (разделяющие забронированный объем башни на три отсека)
55 – отсек левый, где располагается командир
в положении по-походному
56 – отсек правый, где располагается наводчик
в положении по-походному
59 – монтажные выступы со сквозными пазами
60 – центральная выступающая часть башни, используемыми
для крепления съемного бронированного модуля
«а» – передний контур купола
башни
«с» – монтажные пазы

сечение
башни в отсеке вооружения без пушки и систем
15 –
съемный бронированный кожух
16 –
изолированный отсек пушки
48 – лобовые листы башни
53, 54 – продольные броневые листы (разделяющие забронированный объем башни на три отсека)
55 – отсек левый, где располагается командир
в положении по-походному
56 – отсек правый, где располагается наводчик
в положении по-походному
15 –
съемный бронированный кожух

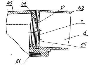
сечение
по оси съемного бронированного модуля в месте его крепления к башне
12 –
съемный бронированный модуль
46 – кормовой лист башни
49 – крыша
башни
61 – кольцевая проточка
под установку центрирующих шариков подшипникового
62 – крыша съемного бронированного модуля
65 – заслонка (отверстие «е» находится
в открытом состоянии только на момент заряжания)
«е» –
перекрываемое в соответствии с циклограммой падающей заслонкой
отверстие для подачи выстрелов.
«d» – полость бронированного
модуля ТЗМ

башня в сечении по
амбразуре
50 – блоки
ВДЗ (или гидродинамической
защиты)
51 – амбразура
52 – колодцы под цапфы
61 – кольцевая проточка
под установку центрирующих шариков подшипникового узла