бъект 640 «Черный орел»

Чертеж гусениц танка

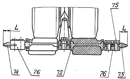
Чертеж гусениц перспективного танка со съемными уширителями:


72 – гусеничная лента

73, 74 – уширители гусеничной ленты

75 – болтовое крепление

76 – скобы гусеницы