Îáúåêò 640 «×åðíûé
îðåë»
êîðïóñ

1 - âèä íà
ëåâûé áîðò êîðïóñà
2 - ïðîäîëüíûé ðàçðåç ïî
îñè êîðïóñà òàíêà
24 – ëåâûé
áîðò
25 – ïðàâûé
áîðò
26 – äíèùå
27 –
âåðõíèé ëîáîâîé ëèñò
28 – íèæíèé
ëîáîâîé ëèñò
29 –
êîðìîâîé ëèñò
30 – êðûøà
33, 34 – âåðòèêàëüíûå áðîíåâûå ëèñòû óñòàíîâëåííûìè ïàðàëëåëüíî îñè
òàíêà
40, 41 – ñúåìíûå çàùèòíûå ýêðàíû
43 – ïåðåãîðîäêà ÌÒÎ
44 – áðîíåâàÿ øàõòà ëþêà
ìåõàíèêà-âîäèòåëÿ

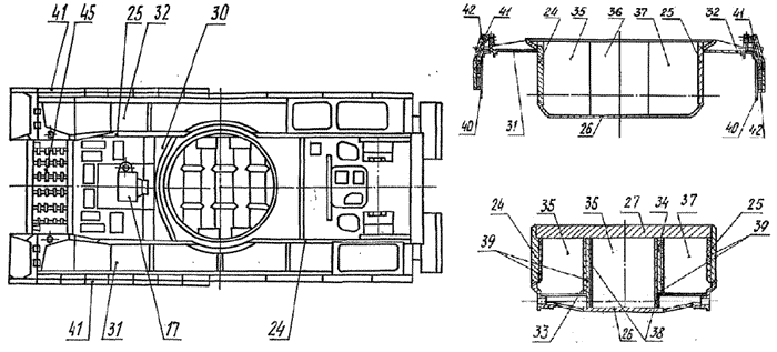
1 - áðîíåâîé êîðïóñ òàíêà áåç ïîâîðîòíîé áàøíè (âèä
ñâåðõó)
2 -
ñå÷åíèå ïî ïîïåðå÷íîé îñè ðàñòî÷êè â êðûøå êîðïóñà
3 - ñå÷åíèå íîñîâîé ÷àñòè êîðïóñà
17 – ëþê
ìåõàíèêà-âîäèòåëÿ
24 – ëåâûé
áîðò
25 – ïðàâûé
áîðò
26 – äíèùå
30 – êðûøà
31, 32 – íàäãóñåíè÷íûå ïîëêè
33, 34 – âåðòèêàëüíûå áðîíåâûå ëèñòû óñòàíîâëåííûìè ïàðàëëåëüíî îñè
òàíêà
35, 36, 37
– èçîëèðîâàííûå îòñåêè
38 –
ëèñòû èç ïðîòèâîîñêîëî÷íîãî ìàòåðèàëà
39 –
ëèñòû èç ïðîòèâîðàäèàöèîííîãî ìàòåðèàëà
39 –
ëèñòû èç ïðîòèâîðàäèàöèîííîãî ìàòåðèàëà
40, 41 – ñúåìíûå çàùèòíûå ýêðàíû
42 – ýêðàíû êîðïóñà ñ ýëåìåíòàìè äèíàìè÷åñêîé çàùèòû
45 – êîìáèíèðîâàííûé áëîê íà âåðõíåì ëîáîâîé
ëèñòå ñ âêëþ÷åíèåì ïàññèâíîé áðîíè ñ
ÿ÷åéêàìè äëÿ âñòðîåííîé äèíàìè÷åñêîé (èëè
ãèäðîäèíàìè÷åñêîé) çàùèòû.