Объект 640 «Черный
орел»
Схема ТЗМ

вид сверху на ТЗК:
1 – пушка, 2- башня, 4 - крыша
башни, 27 - загрузочно-дополнительный люк с крышкой, 28 - два люка с
крышками для направления взрывной волны
при аварийном взрыве внутри ТЗК, 93 – броневой корпус приводных механизмов
стопора конвейера и раскрытия кассет.

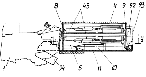
вид на ТЗК справа:
1 – пушка, 4 - крыша башни, , 8
передняя стенка конструкции башни
9 - задняя стенка конструкции башни,
10 - выстрел, 11 – корпус приемного лотка
43 – каркас кассеты, 92 – корпус
механизма досылания, 93 – броневой корпус приводных механизмов стопора
конвейера и раскрытия кассет. 94 – подвижная направляющая.

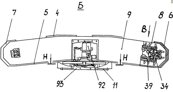
вид на ТЗК сзади:
4 - крыша башни, 6-7 Боковые стенки
конструкции башни, 8 передняя стенка конструкции башни
9 - задняя стенка конструкции башни,
11 – корпус приемного лотка, 34 – ведущие звездочки, 39 – цепь, 92 – корпус
механизма досылания, 93 – броневой корпус приводных механизмов стопора
конвейера и раскрытия кассет.

вид на ТЗК сверху:
4 - крыша башни, 6-7 - Боковые
стенки конструкции башни, 31 - балка, 32 – электропривод конвейера, 43 - каркас кассеты.92 – корпус механизма
досылания, 93 – броневой корпус приводных механизмов стопора конвейера и
раскрытия кассет.