ГЛАВНАЯ НА ВООРУЖЕНИИ ПЕРСПЕКТИВНЫЕ
РАЗРАБОТКИ
ОГНЕВАЯ МОЩЬ
ЗАЩИТА ПОДВИЖНОСТЬ 

ЭКСКЛЮЗИВНЫЕ МАТЕРИАЛЫ  БИБЛИОТЕКА ФОТООБЗОРЫ
 
 



Разработки новых конструкций броневых модулей для защиты от кумулятивных тонкостенных боеприпасов (РПГ)

А. Тарасенко

Особенностью современных вооруженных конфликтов является массовое применение переносных противотанковых средств типа РПГ, способных пробивать бортовые проекции танков и лобовые и бортовые проекции БМП и БТР.

В качестве примера в ходе гражданской войны в Сирии подтвержденные видеоматериалами потери боевых бронированных машин (танки, БМП, БТР и пр.) составили 862 единиц (по данным на 31 марта 2013). Из них до 70% были уничтожены РПГ (СПГ), что показывает особую актуальность эффективной и доступной защиты от них.

Наиболее распространенное средство защиты боевых машин от угроз типа РПГ, СПГ являются противокумулятивные решетчатые экраны (РЭ).

РЭ обеспечивают защиту бортов и кормы корпуса и башни от противотанковых гранат ПГ-7 и ПГ-9 с вероятностью 0,66.

Несмотря на свою относительную простоту и широкое распространение РЭ имеют ряд серьезных недостатков, не позволяющих считать их современным средством защиты:

  • низкая вероятность защиты 0,66 (частость несрабатывания гранат РПГ равна 0,5);
  • низкая вероятность защиты от гранат, атакующих с возвышения и снизу, что особенно актуально при применении в условиях городской застройки и гонной местности;
  • продолжительность и трудоемкость монтажа РЭ составила (для БТР-80 - 29 чел./ч.);
  • высокая масса комплектов РЭ.

Для обеспечения защиты от РПГ в зарубежных странах ведутся активные работы по созданию новых броневых конструкций, не имеющих недостатков свойственных РЭ.

Ведущими разработчиками в данной области могут считаться израильская  Plasan Sasa Ltd с комплектом броневых модулей FLEXFENCE,  швейцарская RUAG  с комплектом SidePRO-RPG и SidePRO-ATR и датская Composhield.

1, 2. Броневые модули FLEXFENCE,  Plasan Sasa Ltd FlexFence на патрульной машине Oshkosh Sandcat (M-LPV) и VAB «Ultima».   1, 2. Броневые модули FLEXFENCE,  Plasan Sasa Ltd FlexFence на патрульной машине Oshkosh Sandcat (M-LPV) и VAB «Ultima».

1, 2. Броневые модули FLEXFENCE,  Plasan Sasa Ltd FlexFence на патрульной машине Oshkosh Sandcat (M-LPV) и VAB «Ultima».


Конструктивно защитные модули FLEXFENCE могут иметь ряд отличий, но их основной принцип построения и функционирования идентичен.

Броневой модуль представляет собой полимерный материал с элементами брони, расположенными в посадочных гнездах. Первая покрывающая панель, передняя часть модуля в которой установлены элементы брони, и задняя часть модуля изготовлены из полимерного материала, плотность которого не достаточна для инициирования гранаты РПГ.

   

Броневой модуль может содержать заднюю часть из аналогичного применяемому для установки элементов брони полимерного материала, который обеспечивает отступ между функциональным слоем и корпусом.

Существуют варианты броневых модулей установленных на рейках для создания регулируемого воздушного зазора. В таком варианте исполнения полимерный материал в задней части модуля не устанавливается.

В баллистических экспериментах с РПГ обычно достигается один из трех результатов:

  • тихая нейтрализация - реактивная граната полностью останавливается броневым модулем, а взрывчатый материал в ней не взрывается;
  • агрессивная нейтрализация - реактивная граната полностью останавливается броневым модулем, а взрывчатый материал в ней взрывается, но не надлежащим образом и поэтому кумулятивная струя не формируется;
  • отсутствие нейтрализации - элемент брони не нейтрализует реактивную гранату и она срабатывает штатно.

В проведенных экспериментах «тихая нейтрализация» составила примерно 70% результатов всех опытов.

Передняя часть броневого модуля изготовлена из пригодного для контурного вырезания полимерного материала с вставленным в него множеством элементов брони и содержит покрывающий слой, предназначенный для покрытия переднего конца передней части и для предотвращения отделения элементов брони. Задняя часть создает отступ между элементами брони и подлежащим защите корпусом.

Плотность материала броневого модуля не превышает 250 кг/м3.

Этот материал может быть выбран, например, из следующих групп: пенопласты с закрытыми ячейками, пеноматериалы EVA и формованные пеноматериалы. В качестве примера можно привести такие материалы как полученный экструзией полистирен, стирофом, полиэтилен, пенопласт Palciv® и т.д.

Покрытие предназначено для защиты модуля от тепла, ультрафиолетового излучения и т.д. Покрытие модуля не предназначено для активизации взрывателя снаряда, а допускает деформацию боеголовки элементами брони до активизации взрывателя.

Броневой модуль в перспективе сверху

Броневой модуль в перспективе сверху


Р атакующее противотанковое средство

30 броневой модуль

32 передняя часть броневого модуля

34 задняя часть броневого модуля

35 множество слоев задней части броневого модуля

36 элементы брони

37 покрывающий слой

38 посадочные гнезда для элементов брони

39 воздушный зазор

В подлежащий защите корпус

42 первая покрывающая деталь

44 вторая покрывающая деталь

Варианты исполнения броневого модуля

Р атакующее противотанковое средство

30 броневой модуль

32 передняя часть броневого модуля

34' стойки для создания воздушного зазора

34'' рейки для создания воздушного зазора

L кольца для подвешивания броневого модуля

36 элементы брони

37 покрывающий слой

38 посадочные гнезда для элементов брони

39 воздушный зазор

В подлежащий защите корпус

42 первая покрывающая деталь

44 вторая покрывающая деталь

Испытания

Разработчики указывают, что были проведены испытания броневого модуля, при которых его обстреливали гранатой РПГ, при этом броневой модуль выдерживал удар реактивной гранаты. Однако в этих экспериментах, даже в случае успешного срабатывания броневого модуля, реактивная граната в большинстве случаев разрушалась, так что было затруднительно исследовать элемент брони и реактивную гранату после удара.

Был проведен другой ряд экспериментов в котором реактивная граната оставалась неподвижной, а элемент брони выстреливался по реактивной гранате с соответствующей скоростью, чтобы моделировать взаимодействие между реактивной гранатой и элементом брони во время адекватного удара.

10 противотанковая граната

11 головная часть взрывателя пьезоэлектрического типа

12 токопроводящий конус

13 аэродинамический колпак

14 кумулятивная воронка

50 элемент брони

52 несущее основание

56Т верхние когти

56В нижние когти

О-образное отверстие

Момент столкновения между элементом брони и реактивной гранатой.

Видно, что в этот момент в показанном положении два нижних лепестка элемента брони контактируют с наружным колпаком  реактивной гранаты и начинают проникать в нее.

Коническая форма снижает шансы того, что лепесток будет просто скользить вдоль колпака реактивной гранаты и деформироваться. В этом случае элемент брони мог бы просто «отражаться» от колпака реактивной гранаты без получения желаемого эффекта проникновения в колпак и нейтрализации реактивной гранаты.

Каждый коготь, вступающий в контакт с наружной поверхностью реактивной гранаты, действует как резак, вскрывая наружную поверхность реактивной гранаты.

Разработка защищена патентами (EP2533006, CA2779218, AU2012203499, RU126113) Израиля, европейских стран и Российской федерации.

Защита SidePRO-RPG

 


Сопоставление характеристик броневых модулей SidePRO-RPG с имеющимися патентами фирмы RUAG показывает много общего с модулями FLEXFENCE.

В отличие от конструкции израильской FLEXFENCE с зафиксированными в полимерном массиве элементами брони в SidePRO-RPG применяются металлические стержни.

SidePRO-RPG имеет несколько большую массу, но при этом проще в изготовлении.

Разработка защищена патентами европейских стран (EP 2202478, EP 2455703,  WO 2010075637, CA 2747532, AU 2009335617).

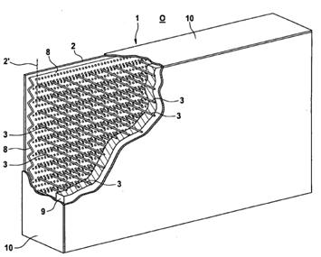
1 броневой модуль

2' внутренняя поверхность

9 композитный материал с низкой плотностью

8 слой крепления стержней

10 наружное покрытие

11 плита из композитного материала

Защита SidePRO-RPG для БТР – обеспечивается защита от гранат РПГ-7 типа ПГ-7В, ВМ, ВЛ  при массе квадратного метра бронирования менее  45 кг и толщине защиты не более 250 мм .

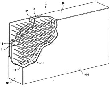
1 броневой модуль

2' внутренняя поверхность

3 стальной стержень

8 слой крепления стержней

9 композитный материал с низкой плотностью

10 наружное защитное покрытие

11 плита из композитного материала

Выводы

   

Фото 1, 2. Решетчатые экраны БТР-4Е Украинского производства и танка Т-90СМ (Россия).


На схеме показаны недостатки РЭ (справа) от противотанковых средств, атакующих с возвышения (и снизу).

Таких недостатков лишены новые комплекты броневых модулей FLEXFENCE, SidePRO-RPG  и других изделий использующих аналогичные принципы.

Наряду с меньшей массой и большей вероятностью защиты от атакующих боеприпасов (0,70..0,75) новые комплекты броневых модулей обладают и лучшими показателями по защите при обстреле в условиях актуальных на данный момент условий применения в городской застройке.

Актуальность новых средств защиты от РПГ очевидно осознают и в Российской Федерации.

Решения аналогичные применяемых в израильском FLEXFENCE планируется применить на перспективном российском бронеавтомобиле Тайфун-К».

Такие модули, называемые в РФ «защитные маты», по сравнению с РЭ обладают высокой вероятностью защиты, быстротой и удобством установки на защищаемый объект, низкой массой (12 кг/м2).

Установка защитных матов для «Тайфун-К». twower.livejournal.com/

Конструктивно выполнение требований защиты от РПГ осуществлено с помощью матов специальной конструкции с вероятностью защиты не менее 0,75. К корпусу автомобиля специальные маты устанавливаются специальными ремнями, позволяющими их быструю установку и демонтаж.

"Тайфун-К" ОАО "КАМАЗ"
Тайфун-К

Защита окон осуществляется с помощью стандартных решетчатых экранов

Тайфун-К





 



 
ГЛАВНАЯ НА ВООРУЖЕНИИ ПЕРСПЕКТИВНЫЕ
РАЗРАБОТКИ
ОГНЕВАЯ МОЩЬ
ЗАЩИТА ПОДВИЖНОСТЬ 

ЭКСКЛЮЗИВНЫЕ МАТЕРИАЛЫ  БИБЛИОТЕКА ФОТООБЗОРЫ