ГЛАВНАЯ НА ВООРУЖЕНИИ ПЕРСПЕКТИВНЫЕ
РАЗРАБОТКИ
ОГНЕВАЯ МОЩЬ
ЗАЩИТА ПОДВИЖНОСТЬ 

ЭКСКЛЮЗИВНЫЕ МАТЕРИАЛЫ  БИБЛИОТЕКА ФОТООБЗОРЫ
 


 

ВОЗМОЖНАЯ КОМПОНОВОЧНАЯ СХЕМА ВГМ

(в порядке дискуссии)

С. А. Гусев

Вестник бронетанковой техники. 1989. №10.

 

Предложена компоновочная схема, позволяющая повысить защиту экипажа и живучесть боевой машины на поле боя. Ее особенностью является носовое располо­жение двигателя и кормовое – трансмиссии и ведущих колес. Компоновка использо­вана при разработке ряда боевых машин.

 

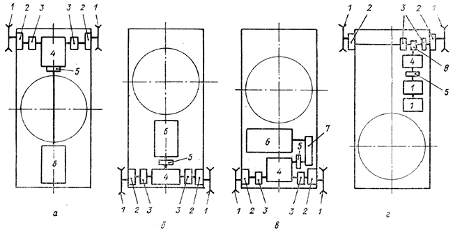
По расположению двигателя и трансмиссии различают три компоновочные схемы ВГМ [1, 2]: с кормовым расположением моторно-трансмиссионной установки (МТУ), с носовым расположением МТУ и разнесенной схемой с двигателем в кормовой и трансмиссией в носовой части корпуса (рис. 1).

 

Рис. 1. Компоновка агрегатов МТУ ВГМ:

а разнесенная (двигатель – в кормовой части корпуса, трансмиссия – в носовой); б, в - кормовая; г – носовая; 1 – ведущее колесо; 2 – бортовой редуктор; 3 – механизм поворота; 4 коробка передач; 5 – главный фрикцион; 6 – двигатель; 7 входной редуктор

 

Большинство современных танков имеют так называемую классическую компоновочную схему с кормовым расположением МТУ. Однако весьма перспективно, прежде всего с точки зрения повы­шения уровня защиты экипажа и живучести боевой машины, переднее расположение моторно-транс­миссионного отделения, как, например, на израиль­ском танке «Меркава», шведском Strv 103В, арген­тинском танке ТАМ, ряде легких танков и БМП.

Несмотря на усиленную броневую защиту лобо­вой проекции танка, она поражается современными противотанковыми средствами (ПТС). В танке с классической компоновочной схемой, прежде всего, выходит из строя водитель, поражается боекомп­лект и топливные баки, являющиеся наиболее уяз­вимыми от заброневого действия ПТС [3].

В боевой машине с передним расположением МТУ по сравнению с классической компоновкой двигатель, трансмиссия и моторная перегородка служат дополнительной защитой для водителя и всего экипажа танка. Такая схема обеспечивает возможность разместить экипаж, десант, снаряды и топливо в освободившемся от МТУ, наиболее защищенном кормовом отсеке корпуса боевой машины. Дополнительным преимуществом является безопасный, быстрый и удобный выход экипажа или десанта через дверь в корме корпуса. Усили­вается защита МТУ в верхней полусфере, посколь­ку это отделение прикрыто довольно мощным на­клонным лобовым броневым листом.

Переднее расположение МТУ позволяет применять более длинноствольные пушки, повышая таким образом могущество боеприпаса по сравнению с классической компоновкой, где башня находится ближе к лобовой проекции машины и существует опасность утыкания длинноствольной пушки в грунт при максимальных углах снижения, особен­но при работе в стабилизированном режиме.

 

Рис. 2. Схемы с носовым размещением МТУ (а) и двигателя (б) ВГМ:

1 – верхний съемный броневой лист; 2 – трансмиссия; 3 – двигатель; 4 – ведущее колесо; 5 бортовой редуктор; 6 – первый опорный каток; В – необходимая толщина лобовой защиты; штриховая линия – ослабление лобовой защиты

 

Но такая компоновочная схема имеет целый ряд серьезных недостатков, характерных для бое­вых машин с передним расположением трансмис­сии. Существует большая вероятность поражения бортовых редукторов -и ведущих колес, находящих­ся в носовой части танка, в наиболее вероятном секторе обстрела. При такой компоновочной схеме самым слабым звеном в боевой машине является МТУ, используемая как «наполнитель» в комбини­рованной броне лобовой проекции корпуса машины.

Передний броневой лист не может обеспечить необходимую защиту двигателя, трансмиссии и об­служивающих систем от современных ПТС; возрас­тает вероятность их поражения и потери подвиж­ности танка.

Попытка повышения защиты за счет увеличения противоснарядной стойкости первой преграды (например, увеличение габарита брони более 600 мм) приводит к значительному удалению ведущих ко­лес и первых опорных катков от носа танка (рис. 2, а). При этом масса брони лобовой проек­ции и МТУ создают недопустимую перегрузку пер­вых опорных катков, особенно при движении бое­вой машины. Ведущие колеса необходимо распо­лагать как можно ближе к носу танка – для прео­доления препятствий заданной высоты. Попытка сделать это приведет к появлению уязвимых мест в зоне вырезов лобовой защиты под установку бор­товых редукторов и ведущих колес; более 30 % ло­бовой проекции корпуса будет иметь значительное ослабление броневой защиты.

Форма носовой части корпуса зависит от габа­ритов и расположения МТУ, находящейся за лобо­вой защитой. Это затрудняет создание снарядо­стойкой формы носовой части корпуса танка с большими углами наклона броневых листов.

Предлагается новая схема размещения МТУ с передним расположением двигателя и кормовым – основных агрегатов трансмиссии и ведущих колес (рис. 3). Размещение двигателя в носовой части танка позволяет избежать ослабление лобовой проекции боевой машины; в этом случае отсутст­вуют вырезы под агрегаты трансмиссии и ведущие колеса. Появляется возможность усиления лобово­го листа корпуса и защиты двигателя. При этом сам двигатель и моторная перегородка служат до­полнительной защитой экипажа при пробитии бро­ни (рис. 2, б).

Размещение агрегатов трансмиссии и ведущих колес в кормовой, наиболее защищенной части бое­вой машины, дает возможность надежно защитить агрегаты трансмиссии и ведущие колеса, приблизив направляющие колеса и увеличив тем самым высо­ту преодолеваемых препятствий. Первые опорные катки расположены ближе к корпусу машины, что вместе с кормовым положением агрегатов транс­миссии (их масса ^2 т) позволит более рационально распределить мас­су танка и, следователь­но, снизить нагрузку на элементы ходовой части и увеличить подвижность и проходимость машины.

Возможность совмещения по длине кормо­вого обитаемого отсека (десантного отделения) с трансмиссией – за счет установки агрегатов трансмиссии под полом десантного отделения – позволяет сократить дли­ну машины и обеспечить безопасный, быстрый и удобный выход экипажа над агрегатами трансмис­сии, через кормовую дверь. Уменьшается масса верхнего съемного ло­бового листа, так как из носовой части корпуса вынимается двигатель без агрегатов трансмиссии.

 

Рис. 3. Предлагаемая компоновка машины

 

Упрощается отбор мощности от трансмиссии для вспомогательных целей, например, для водометно­го движителя у плавающих машин.

Предложенная компоновочная схема была ис­пользована при разработке ряда боевых машин. Разработка показала, что в зависимости от разме­щения боекомплекта и оборудования в качестве устройства передающего мощность от двигателя к трансмиссии можно использовать карданный вал.

Высота боевого отделения определяется не столько посадкой экипажа, сколько возможностью наблюдения через приборы, находящиеся в башне. Поэтому между днищем и поликом боевого отделе­ния остается свободный объем, обычно занимаемый топливными баками боевых машин с малокалибер­ной автоматической пушкой (например, БМП «Мардер»), у основных танков – боекомплектом (Т-72, Т-80). В этих случаях поваляется возмож­ность разместить карданный вал под полином бое­вого отделения; установка его не влияет на высоту боевой машины.

Водяные радиаторы системы охлаждения дви­гателя и система выпуска отработавших газов мо­гут быть расположены в кормовой части боевой машины. Это исключает образование марева в переднем секторе машины, мешающего наблюде­нию через приборы, одновременно снижается вероятность обнаружения боевой машины тепловизи­онными приборами противника.

Вентилятор системы охлаждения может быть подключен к потоку мощности, идущему от двига­теля к агрегатам трансмиссии и в кормовой части машины, непосредственно под радиаторами.

Для двигателя мощностью свыше 375 кВт наи­меньшие габариты кормового десантного отделе­ния получаются при использовании бортовых ко­робок передач. В этом случае выход экипажа и де­санта через кормовую дверь осуществляется над агрегатами трансмиссии, между бортовыми короб­ками передач.

Вывод. Анализ известных компоновочных ре­шений танка показывает, что носовое расположе­ние двигателя и кормовое – агрегатов трансмис­сии и ведущих колес в компоновочной схеме бое­вой машины позволит значительно повысить уро­вень защиты экипажа и живучесть на поле боя.

 

СПИСОК ЛИТЕРАТУРЫ

  1. Танки: Основы теории, конструкции и боевой эффек­тивности. Кн. 1. М.: ВАБТВ им. Р. Я. Малиновского, 1983. 568 л.
  2. Танки и танковые войска / Под общей ред. А. X. Ба­баджаняна. М.: Воениздат, 1980. 380 с.
  3. Мазуренко А. И. и др. Пути повышения живучести танка // Вестник бронетанковой техники. 1987. № 2. С. 3–5.

 

 

 





 
ГЛАВНАЯ НА ВООРУЖЕНИИ ПЕРСПЕКТИВНЫЕ
РАЗРАБОТКИ
ОГНЕВАЯ МОЩЬ
ЗАЩИТА ПОДВИЖНОСТЬ 

ЭКСКЛЮЗИВНЫЕ МАТЕРИАЛЫ  БИБЛИОТЕКА ФОТООБЗОРЫ