ГЛАВНАЯ НА ВООРУЖЕНИИ ПЕРСПЕКТИВНЫЕ
РАЗРАБОТКИ
ОГНЕВАЯ МОЩЬ
ЗАЩИТА ПОДВИЖНОСТЬ 

ЭКСКЛЮЗИВНЫЕ МАТЕРИАЛЫ  БИБЛИОТЕКА ФОТООБЗОРЫ
 


 

ВОЗБУЖДЕНИЕ ДЕТОНАЦИИ ВВ В СОСТАВЕ ДИНАМИЧЕСКОЙ ЗАЩИТЫ ПРИ ВОЗДЕЙСТВИИ БРОНЕБОЙНОГО ПОДКАЛИБЕРНОГО СНАРЯДА

Е. В. МАРКАЧЕВ, Д. А. РОТОТАЕВ, В. Д. ЧУБЛРОВ

ВБТТ. №1. 1991.

 

Приведены результаты экспериментальных исследований элементов динамической защиты (ДЗ), снаряженных ВВ различного состава, в схемах ДЗ. В числе факторов, определяющих условия детонации ВВ в схемах ДЗ, кроме скорости ударника, типа ВВ, его начальной плотности, важное место занимает технология приготовления ВВ и снаряжения им элементов ДЗ, а также наличие лицевого броневого экрана из стали высокой твердости, формирующего поток осколков. Предложены и испытаны в натурных условиях различные структурные схемы размещения ДЗ, позволяющие повысить частость возбуждения детонации ВВ.

 

Детонация ВВ в динамической защите (ДЗ) танка возбуждается ударной волной, создаваемой в заряде ВВ. Модель инициирования и процесс развития реакции в конденсированных ВВ при ударно-волновом нагружении подробно изложены в работах [1–3]. Их анализ показывает, что чувствительность ВВ к ударно-волновым воздействиям носит вероятностный характер и зависит от химического состава ВВ, его физических свойств, технологии изготовления, степени флегматизации и т. п.

Существует несколько возможных путей улучшения возбуждения детонации в заряде ВВ при воздействии бронебойного подкалиберного снаряда (БПС):

применение состава с повышенным содержанием ВВ;

направленное действие осколочного потока с тыльной поверхности лицевой преграды;

использование материала (ударника или лицевой преграды), формирующего поток осколков с повышенной акустической жесткостью (произведение его плотности и скорости звука);

изменение технологии изготовления ВВ и технологии снаряжения им элемента ДЗ;

конструктивные изменения структурной схемы унииверсальной динамической защиты.

С учетом технических требований к ВВ исследовались следующие составы: ПВВ-5А; ПВВ-12М; ЭГ-85 и ТКФ-Г, которые имеют достаточную степень рецептурной и технологической отработки.

Характеристики этих составов близки. Однако вследствие различия компонентов, консистентности (пластичные, эластичные ВВ) и пористости они имеют разную восприимчивость к детонации при высокоскоростном ударе, оценить которую можно только экспериментально.

Ударно-волновой механизм инициирования при воздействии кумулятивной струи, БПС, осколка или другого ударника подробно изучен в плоской задаче [3, 4]. Перенос плоской задачи на случай инициирования искривленным фронтом ударной волны, возникающим при взаимодействии с ВВ поражающего элемента (корпус снаряда, откольный осколок и др.), весьма сложен. Это усложняется также отсутствием данных по ударным сжимаемостям большинства пластичных и эластичных ВВ. Для решения этой задачи наиболее рационально применить физическое моделирование процесса инициирования ВВ, находящегося в макете элемента ДЗ.

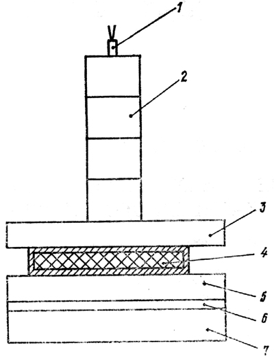
Изучение процессов в броневом экране в начальный период удара БПС (до возникновения откольных явлений на тыльной поверхности лицевого броневого экрана) проводилось нагружением ДЗ, снаряженных ПВВ-5А, ПВВ-12М и ЭГ-85, контактным взрывом зарядов ВВ (четыре шашки Α-ΙΧ-1: диаметр 40 мм , высота 40 мм , плотность ρ0= 1,56÷М ,59 г/см3) через стальной экран с размерами 15×300×180 мм (рис. 1). Чувствительность ВВ оценивалась по частости взрывов в серии из 30 опытов. Исследования показали пониженную восприимчивость к детонации состава ПΒΒ-5А по сравнению с ПВВ-12М, содержащим повышенное количество гегсогена (90%). Частость детонации для ПВВ-5А, ПВВ-12М и ЭГ-85 составила соответствепно 0; 25 и 98 %.


Основным требованием, предъявляемым к ВВ для универсальной динамической защиты, является надежное инициирование при воздействии БПС и отсутствие детонации при обстреле из малокалиберных пушек и стрелкового оружия, а также при воздействии осколков осколочно-фугасного снаряда, подрываемого на расстоянии 10 м от танка. Если отсутствие детонации при воздействии пуль и малокалиберных снарядов сохраняет работоспособность динамической защиты, то ее отсутствие при ударе БПС снижает эффективность защиты танка. Так, при обстреле БПС 3БМ22 с ударной скоростью 1680...1710 м/с макета динамической защиты верхней лобовой детали танка, состоящего из двух слоев ДЗ, снаряженных ПВВ-5В, накрытых броневой карточкой 15...20 мм (dнв = 2,84- 2,9 мм ) без зазора, частость детонации ВВ составила всего 35 % из 17 опытов. По современным требованиям частость детонации должна быть не менее чем в 90 % случаях.

Обработка результатов полигонных испытаний различных схем ДЗ с определением зон воздействия осколков, образующихся при взаимодействии БПС с броневым лицевым экраном на расположенные за ним ДЗ, позволила сделать вывод о том, что главную роль в возбуждении детонации играют осколки первоначального откола с тыльной поверхности лицевой преграды; вероятность возбуждения детонации самим снарядом и сопровождающими его осколками сравнительно мала.

Некоторые данные о вероятности инициирования ДЗ получены при испытаниях двух схем динамической защиты обстрелом БПС 3БМ22 (табл. 1). В первой схеме контейнер динамической защиты с толщиной корпуса 3 мм дополнительно накрыт кар- точкой из стали высокой твердости толщиной 8,5 мм . Во второй схеме элементы ДЗ расположены в воздушном зазоре и закрыты карточкой из стали высокой твердости толщиной 14 мм . Физические процессы иллюстрируются на рис. 2 и 3.

 

Рис. 1. Схема установки для испытаний ДЗ на чувствительность к детонации:

Рис. 1. Схема установки для испытаний ДЗ на чувствительность к детонации:

1 - электродетонатор; 2 - шашки ВВ; 3 - стальной экран; 4 - элемент ДЗ; 5-7 - пакет стальных плит

 

Таблица 1. Частость инициирующего воздействия БПС ЗБМ22 в схемах универсальной динамической защиты

Схема динамической защиты

ВВ

υ уд. м

Число

опытов

Инициирование, %

осколками

снарядом

суммарный

эффект

8,5 мм СВТ* + КнДЗ (2ЭДЗ) + + ВЛД**

ПВВ-5А

1500-1700

26

59

17

33

14 мм СВТ + 60 мм воздуха + + 2ЭДЗ + ВЛД

ПВВ-12М

1500-1700

9

64

־ 13

33

* СВТ – сталь высокой твердости, dHB = 2,84- 2,9 мм .

 ** ВЛД – верхняя лобовая деталь.

 

В результате взаимодействия снаряда с лицевым экраном ДЗ в нем образуется ударная волна, которая трансформируется в волну разгрузки. В волне разгрузки происходит откольное разрушение материала экрана. Материал откольной пластины создает вторичный поток осколков. Таким образом, в результате взаимодействия снаряда с материалом лицевого экрана последний приобретает некоторую скорость, деформируется, из материала экрана образуется поток вторичных осколков. Эти факторы, как и частично разрушенный снаряд, воздействуют на элемент ДЗ. Такой механизм подтверждается и рентгенограммами исследуемого процесса.

 

 

Границы входа снаряда в основную преграду (2) 
при обстреле ДЗ БПС 3БМ22 под углом 68° и зоны осколков лицевого экрана


Рис. 2. Границы входа снаряда в основную преграду (2)

при обстреле ДЗ БПС 3БМ22 под углом 68° и зоны осколков лицевого экрана (1):

а – детонация осколками и корпусом снаряда; б, в – то же соответственно осколками и корпусом снаряда; плюс – детонация ВВ; минус – ее отсутствие

 

Существенное различие в частости возбуждения детонации потоком откольных осколков и деформированным корпусом снаряда можно объяснить различным углом встречи осколков и снаряда с корпусом ДЗ. Движение осколков происходит преимущественно по нормали. При воздействии корпуса снаряда и сопровождающих его осколков имеет место косое соударение, вызывающее резкое увеличение критической скорости инициирования [2], необходимой для возбуждения процесса детонации в заряде ВВ.

В соответствии с [4] и на основании сравнения площадей поражения ДЗ осколками откола можно предположить, что инициирование ВВ вызывается сдельными осколками, обладающими оптимальныными с точки зрения инициирующей способности параметрами (масса, скорость, геометрические размеры и т. д.). По данным [4], можно, например для состава ТГ-40, оценить параметры стального осколка, необходимые для возбуждения детонации заряда, экранированного стальной крышкой, следующим образом: скорость удара 1000...1 200 м/с, масса осколка не менее 15...20 г, контактная площадь удара не менее 2 см2. Наличие осколков, отвечающих этим требованиям, определяет возможность инициирования ДЗ в универсальной динамической защите. При увеличении ударной скорости осколков требования к их массе и контактной площади снижаются; количество осколков, способных к инициированию ДЗ, возрастает.

 

 

Рис. 3. Схема детонации ВВ ДЗ


Рис. 3. Схема детонации ВВ:

а, б, в — детонация ВВ осколками, снарядом, тем и другим; 1 – основная преграда; 2 – элемент динамической защиты; 3 – взрывчатое вещество; 4 – лицевая броневая преграда; 5 – ударная волна; 6 – поток осколков лицевой преграды; 7 – волна разрежения; 8 – БПС; 9 – поток осколков; 10 – продукты взрыва

 

Несмотря на большое число факторов, определяющих процесс взаимодействия осколков с зарядом ВВ, большой диапазон изменения параметров взаимодействующих тел затрудняют обобщение опытов. Известно существенное влияние массы осколка, площади миделя и скорости на результат взаимодействия [5–8]. Установка экранирующих преград приводит к увеличению критической скорости инициирования. В работе [9] определялась критическая скорость υкр инициирования ВВ ударом стального цилиндрического бойка (12.7×12.7 мм). Практический интерес представляет исследование состава гексоген (88%) – воск (12 %). Этот состав близок по содержанию гексогена к ВВ, применяемым в ДЗ. Критическая скорость инициирования заряда гексоген—воск (заряд ВВ диаметром 12,7 и высотой 76.2 мм ) составила 536 м/с, а критическая скорость инициирования того же заря- да, облицованною стальным экраном толщиной 3,2 мм , увеличилась до 850 м/с (для алюминиевого экрана той же толщины — 720 м/с).


Зависимость υкр от диаметра ударника имеет вид υкр = 1053-3,01d2, м/с (d = калибр цилиндрического осколка, мм). Скорость потока откольных осколков, таким образом, может оказать существенное влияние на вероятность возбуждения детонации ДЗ. В диссертации Е. Н. Свирчева исследована зависимость скорости откольных осколков при ударном нагружении стальной преграды от величины ее твердости НВ. Откольиый эффект при прочих равных условиях зависит от предела прочности стали σb. С ростом прочности уменьшается пластичность повышается склонность стали к хрупкому разрушению при ударных нагрузках (табл. 2). Твердость броневой преграды способствует увеличению скорости откола и увеличивает вероятность возбуждения детонации в схемах универсальной динамической защиты. Так, сравнительные испытания двух структурных схем ДЗ ( 8 мм стали + 20 мм воздуха 4 ДЗ в один слой + 35 мм воздуха + 8 мм стали), отличающихся величиной твердости лицевой преграды (dHB = 2,8 и 5,6 мм ), обстрелом ЗБМ26 с ударной скоростью 1 600...1 700 м/с показали, что в первой схеме детонация ВВ происходит с вероятностью 66%, а во второй – 0. Пробитие лицевого экрана из Ст. 3 (dHB =5,6 мм) толщиной 8 мм сопровождается пробоиной лепесткового типа, большим прогибом экрана без образования осколков и детонации зарядов ВВ.

 

Таблица 2. Зависимость скорости откола стали от предела прочности σb

 

Твердость

σb СТПа

Скорость откола, м/с

Сталь

d, мм

НВ

Броневая

3,0-3,2

370-430

1300-1500

350

»

3,4-3,6

285 -340

1000-1200

330

»

4.0-4,2

200-230

700-800

320

Конструкционная

5,0-5,5

130-145

450-500

200

 

По опытным данным (табл. 3), деревянная вставка толщиной 20 мм , поглощающая энергию потока откольных осколков, снижает вероятность детонации ПВВ-12М в корпусе ДЗ. Влияние осколков с тыльной поверхности лицевой броневой преграды (dHB =2,8÷2,9 мм) показывают данные табл.

 

Таблица 3 . Возбуждение детонации ПВВ-12М в различных схемах ДЗ при обстреле ЗБМ26

Динамическая защита

Ударная скорость ЗБМ26, м/с

Детонация

Схема № 1

 

Возбуждение детонации ПВВ-12М в различных схемах ДЗ при обстреле ЗБМ26

1629

1635

1644

1646

1655

1660

Есть

»

»

»

»

»

Схема № 2

1662

1683

1680

Нет

»

»

Схема № 3

1678

1697

Есть

»

Схема № 3

1645

1651

1656

1658

1651

Есть

»

»

»

»


 

Примечание. 1 – стальные карточки высокой твердости; 2 – динамическая защита; 3 –деревянная вставка толщиной 20 мм .

 

Опыты подтвердили необходимость замени Г1ВВ-5Л на ПВВ-12М в универсальной динамической защите. Сравнительные испытания контейнера динамической защиты (толщина стенки 3 мм ) с элементом динамической защиты 4С20 при обстреле снарядом ЗБМ22 с ударной скоростью 1650...1700 м/с показали возможность обеспечения детонации только в 20% опытов (схема № 1). Обстрел того же контейнера (схема 2) за броневой преградой 15...20 мм (dHB = 2,8÷2,9 мм) при тех же условиях показал возможность увеличения частости детонации до 43…54%.

 

Таблица 4. Частость детонации Р при обстреле БПС 3БМ22 (α = 68°)

 

Схема

Ударная скорость, м/с

Р, %

ПВВ-5А

ПВВ-12М

Частость детонации Р при обстреле БПС 3БМ22

 

1650-1700

20

-

Частость детонации Р при обстреле БПС 3БМ22

 

1650-1700

43-54

56

Частость детонации Р при обстреле БПС 3БМ22

 

1600-1650

1650-1700

88

-

100

86

Частость детонации Р при обстреле БПС 3БМ22

 

1650-1700

75

100

Частость детонации Р при обстреле БПС 3БМ22

1650-1700

33-40

83


 

Исключение контейнера с толщиной корпуса 3 мм (Ст. 3) еще более повысило частость детонации (схема № 3). Одновременно показана повышенная восприимчивость ПВВ-12М сравнению с ПВВ-5А (100 и 88 %) ври ударном воздействии БПС. Исключение стального экрана приводит к уменьшению величины критической скорости осколка, вызывающего детонацию. Схемы № 4 и № 5 показали положительную роль воздушного зазора между лицевой преградой и корпусом ДЗ. Без воздушного зазора частость детонации ПВВ-12М – 83%, с воздушным зазором – 100%. В связи с пониженной чувствительностью ПВВ-5А к детонации при ударном воздействии БПС были исследованы свойства различных взрывчатых составов по своей рецептуре, свойствам и технологии получения. Проведены лабораторные и полигонные испытания IIBB-5A, ПВВ-12М. ЭГ-85, ТКФ-Г.

Имитацию условий детонации бронебойным подкалиберным снарядом в лабораторных условиях осуществляли метанием стальной пластины (диска) диаметром 30 мм и толщиной 4 мм*. Метательное устройство (рис. 4) обеспечивает скорость полета 1360...1 440 м/с. Элемент ДЗ представлял собой слой ВВ толщиной 6 мм , облицованный стальными пластинами 200×150×3 мм. Он устанавливался на расстоянии 600 мм от метательного устройства. Восприимчивость взрывчатого состава к детонации определялась по числу срабатываний из 10 опытов. При детонации стальные обкладки взрывчатого состава разрушались, при отказе лицевая и тыльная пластины пробивались метаемым элементом.


 

* По предварительным данным толщина откола с тыльной поверхности лицевой преграды толщиной 15…20 мм стали высокой твердости при воздействии БПС с ударной скоостью 1 600 м/с составляет 3- 4 мм .

 

 

Рис. 4. Метательное устройство:

Рис. 4. Метательное устройство:

1 – электродетонатор; 2 – генератор плоской ударной волны; 3 – стальная оболочка толщиной 10 мм ; 4 – тротиловые шашки плотностью 1,54 г/см3; 5 – метаемый стальной диск

 

 

По данной методике была оценена восприимчивость к детонации ПВВ-5А, ПВВ-12М,      ЭГ-85 и ТКФ-Г, полученных по различной технологии. Составы ПВВ-5А и ПВВ-12М механически смешивались, а составы ЭГ-85 и ТКФ-1 были получены по водно-суспензионной технологии с последующей гомогенизацией на рифленых вальцах. Заряды из составов ЭГ-85 и ТКФ-Г были изготовлены в виде пластин вальцеванием. Для оценки были исследованы заряды из ПВВ-12М, приготовленного механическим смешением с последующим экструдированием, ЭГ-85 – гранулированный негомогенизированный и ЭГ-85 – гранулированный гомогенизированный (табл. 5). Наиболее чувствительны к высокоскоростному удару составы ПВВ-12М, ТКФ-Г и ЭГ-85 в виде негомогенизированных гранул, причем восприимчивость ТКФ-Г и ПВВ-12М находятся практически на одном уровне. Что касается состава ЭГ-85, то резкое снижение его чувствительности после гомогенизации, вероятно, можно объяснить тем, что в процессе вальцевания происходит значительная флегматизация кристаллов взрывчатого наполнителя и удаление воздушных включений из массы, в результате чего система становится практически без пор. Как известно [2, 3], гомогенные системы без пор имеют более высокие пределы ударно-волновой чувствительности.

 

Таблица 5. Частость детонации взрывчатых составов, приготовленных по различной технологии

Взрывчатый

состав

Технология приготовления заряда

ρ, г/см3

Р, %

ПВВ-5А

Механическое смещение

1,44

20

ПВВ-12М

» »

1,50

80

ПВВ-12М

То же, дополнительное экструдирование

1,56

90

ЭГ-85

Водно-суспензпоннан технология, гомогенизация, вальцевание в листы

1,60

50

ЭГ-85

То же, гомогенизация, гранулы

1,0

0

ЭГ-85

То же, без гомогенизации, гранулы

0,98

100

ТКФ-Г

То же, гомогенизация, вальцевание в листы

1,57

80

 

Лабораторные испытания подтверждались обстрелом БПС ЗБМ21 с ударной скоростью 1 547...1 593 м/с. Испытания проводились по схеме, аналогичной схеме № 5 в табл. 4. Между стальным лицевым экраном толщиной 8 мм (dHB = 3,54÷3,6 мм) и стальным тыльным экраном толщиной 10 мм (dHB = 3,54÷3,6 мм) располагался заряд ВВ толщиной 8…16 мм в алюминиевом корпусе с 2-мм стенкой. Обстрел проводили под углом 68° по свободно подвешенной сборке. Частость возбуждения детонации взрывчатого состава в данной схеме составила, %:


 

ПВВ-5А…10 (10 опытов)

ПВВ-12М…100 (8)

ЭГ-85… 50 (6)

ТКФ-Г… 67 (9)

 

Из приведенных данных можно сделать вывод об удовлетворительной корреляции результатов натурных испытаний с результатами, полученными в лабораторных условиях. И другой вывод – восприимчивость к детонации - ПВВ-5А ниже, чем ПВВ-12М, ЭГ-85 и ТКФ-Г. Таким образом, из исследованных составов с требуемой плотностью (1,45...1,60 г/см3) лишь два (ПВВ-12М и ТКФ) обладают чувствительностью к ударно-волновым воздействиям, удовлетворяющей современным требованиям. Применение ТКФ ограничено [9]. ПВВ-12М более чувствителен к детонации при воздействии БПС и может быть использован в схемах универсальной динамической защиты взамен ПВВ-5Л. Следует отметить, что детонация ПВВ-5А и ПВВ-12М от кумулятивной струи находится на одном уровне и в данной работе не рассматривается.

Для выяснения влияния рецептурно-технологических факторов на восприимчивость к детонации ПВВ-12М были изготовлены 3 партии элементов ДЗ (табл. 6). Инициирующее воздействие осколочного потока по нормали к ДЗ осуществлялось метанием ударника, состоящего из стального диска диаметром 30 мм , толщиной 2...4 мм и тонкостейного поддона общей массой 39...41 г со скоростью 800...1000 м/с. Поддон обеспечивал стабильность скорости ударника и плоское взаимодействие с корпусом ДЗ. Испытания показали, что снаряжение их неэкструдированным ПВВ-12М обеспечивает более высокую восприимчивость к детонации при ударно-волновом нагружении стальным диском, имитирующем осколок окольного потока. По-видимому, экструдированный продукт ПВВ-12М в процессе экструзии дополнительно гомогенизируется и теряет чувствительность. Критическая скорость возбуждения детонации для неэкструдированного ПВВ-12М в условиях данной методики на 150...130 м/с ниже, чем для экструдированного.

 

Таблица 6. Детонация экструдированного и неэкструдированного ПВВ-12М

 

Способ пригоговления

В В

Количество

опытов

Критическая скорость, м/с

Экструдированный,

связка

11,9 %

16

920 + 67

Неэкструднропаппый,

связки

11,4 %

10

770 ±59

Экструдированы ы й, связки

11,8%

18

890 ±66


 

Сравнительные испытания ПВВ-12В и ПВВ-5А в схемах универсальной ДЗ показали повышенную восприимчивость к детонации состава ПВВ-12М по сравнению с ПΒΒ-5Α: при ударной скорости бронебойного подкалиберного снаряда ЗБМ22 1650...1700 м/с состав ПВВ-12М детонирует более надежно. С уменьшением ударной скорости ЗБМ22 (<1550 м/с) вероятность детонации ПВΒ-12Μ существенно снижается. В универсальной динамичеекой защите при ударной скорости бронебойного подкалиберного снаряда с твердосплавным сердечником или стальным корпусом равной ~1 500 м/с частость детонации состава ПВВ-12М уменьшается до 50% и ниже.

 

Вывод. Исследование процесса возбуждения детонации ВВ в составе динамической защиты показало, что этот процесс зависит не только от ударной скорости бронебойного подкалиберного снаряда, типа ВВ и его начальной плотности, но и от технологии изготовления ВВ и снаряжения им элемента динамической защиты, а также наличия броневого экрана, формирующего поток осколков.

 


СПИСОК ЛИТЕРАТУРЫ

  1. Соловьев В. С. Ударно-волновое инициирование конденсированных ВВ // Химическая физика процессов горения и взрыва. Детонация: Сб. Черноголовка, 1977.
  2. Юхансон Κ., Персон П. Детонация взрывчатых веществ. М.; Мир, 1973.
  3. Баум Ф. А. и др. Физика взрыва. М.: Наука, 1975.
  4. Сурначев И. Н. Связь критических параметров удара при инициировании зарядов ВВ осколками // Боеприпасы. 1983. № 7.
  5. Калюжнов О. В., Островский Н. А., Соловьев В. С. Оценка инициирующего действия осколкоз по экранированным зарядам ВВ // Там же. № 4.
  6. Исаев А. Н., Соловьев В. С., Бойко М. М. Оптимизация системы инициирования детонации // Там же. № 5.
  7. Исаев А. Н., Соловьев В. С. Критические условия ударно-волнового инициирования детонации поражающими элементами // Там лее. № 10.
  8. Мольков Г. Г., Водопьянов Д. Е. Обобщенные характеристики инициирующего действия осколков по типовому ВВ в оболочке // Вопросы специального машиностроения. Сер. 1. 1977. Вып. 5(36).
  9. Розенберг Т. И. и др. Сравнительная оценка свойств ЭВВ на основе мелкокристаллического и штатного тэна // Там же. Сер. III. 1984. Вып. 3(22).
 















 
ГЛАВНАЯ НА ВООРУЖЕНИИ ПЕРСПЕКТИВНЫЕ
РАЗРАБОТКИ
ОГНЕВАЯ МОЩЬ
ЗАЩИТА ПОДВИЖНОСТЬ 

ЭКСКЛЮЗИВНЫЕ МАТЕРИАЛЫ  БИБЛИОТЕКА ФОТООБЗОРЫ