ГЛАВНАЯ НА ВООРУЖЕНИИ ПЕРСПЕКТИВНЫЕ
РАЗРАБОТКИ
ОГНЕВАЯ МОЩЬ
ЗАЩИТА ПОДВИЖНОСТЬ 

ЭКСКЛЮЗИВНЫЕ МАТЕРИАЛЫ  БИБЛИОТЕКА ФОТООБЗОРЫ
 
 



Новые концепции боевых машин для пехоты – выход из сложившегося тупика

Вступление

Первая современная боевая машина пехоты, советская БМП-1, была непосредственным результатом ( в отношении конструкции) советской попытки развития таких машин в ответ на появление атомной бомбы. Последующая разработка БМП на Востоке и на Западе отражала влияние конструкции БМП-1 даже после того, как стало ясно, что влияние атомного вооружения на тактическом уровне больше не является решающим соображением.

Степень пассивной броневой защиты, которую БМП обеспечивает размещенному внутри нее пехотному отделению, является основным фактором способности выполнить задачу. Если, например, БМП предназначена для использования в тактических целях в обстановке применения ядерного оружия, ей требуется достаточно лёгкое бронирование, такое как у советской БМП-1. Если БМП предназначена для выполнения задач по охране тыловых районов, ей, возможно, достаточно защиты только от огня стрелкового оружия. С другой стороны, если БМП должна действовать в более опасной обстановке, требуется большая защита. В каждом случае броневая защита должна соответствовать выполняемой задаче.  

Однако с более широкой точки зрения, потребность в защите далека от первостепенной. Дополнительная защита означает дополнительную  массу, которая в свою очередь приводит к противоречию с рядом конкурирующих требований: мобильностью при передвижении по суше, авиатранспортабельностью и способностью переправляться вплавь. Прежде чем может быть выдвинуто какое-то требование по повышению защиты, допустимая масса машины, которую отстаивают специалисты по оперативно-тактическим вопросам, должна приводиться в соответствие с требованиями к подвижности, рассматриваемыми в качестве необходимых для выполнения более широких боевых задач.

Самое большое ограничение по массе БМП формируется требованием авиатранспортабельности  БМП. Количество вылетов необходимых для доставки специализированных мобильных групп в различные места назначения, однако, в подавляющем большинстве случаев танки и БМП транспортируются железнодорожным и морским транспортом. Даже в случае транспортировки по воздуху, количества транспортируемых танков и БМП крайне ограничены.


Опыт локальных войн за последние 40 лет показывает, что ограничения массы и защиты БМП, основанные на необходимости воздушных перевозок, являются в значительной степени не только не определяющими, но даже и неуместными.

Требование, по форсированию водных преград вплавь, является немаловажным с точки зрения доктрины применения и географических особенностей наиболее вероятного предполагаемого театра боевых действий, однако БМП должен действовать вмести с танками, а не самостоятельно, а основные танки, как известно, плавучестью не обладают. Танки форсируют преграды при помощи оборудования для подводного вождения танка или по понтонным переправам, поэтому никакого смысла отрывать от БМП нет. Способность по форсированию водных преград в плавь, наиболее оптимально сохранить для разведывательных машин, боевых машин десанта и морской пехоты. Возможным решением может быть применение модульной защиты.

Разработка БМП во всём мире в 1960-1980-е годы продолжалась почти исключительно в мирное время и все с меньшим и меньшим вкладом людей и организаций, которые имеют фактический опыт ведения боевых действий с применением механизированных войск. Результат не удивляет: БМП современного поколения в значительной степени основаны на влиянии боевых действий в условиях ядерной войны, которому придавали большое значение, для использования в войне, которая так и не началась, и предложены тактиками, работающими главным образом без боевого опыта.

Абсолютно не удивительно, что отечественные БМП (как и зарубежные) оказались не приспособленными к применению в современных локальных конфликтах. Слабая противоминная защита, а также защита бортов от РПГ и пуль стрелкового оружия с малых дистанций зачастую приводит к тому, что десант передвигается не внутри БМП, а на ней. Вынужденный риск более чем оправдан  правильным пониманием обстановки вокруг, быстротой спешивания, меньшим риском гибели всего экипажа при подрыве на фугасе. Однако данная ситуация ни коем образом не может считаться нормально и свидетельствует о том, что БМП состоящие сейчас на вооружении не выполняют возложенных на них задач и модернизация полностью решить эту проблему не может.

АОИ (Армия обороны Израиля) несомненно, является новатором в области создания тяжелых бронемашин для пехоты. Но, несмотря на их огромный опыт, их решения не могут считаться универсальными и применимыми для других стран, и требуют серьезного доосмысления.

Учёба на свих ошибках является эффективным источником для выдвижения тактических требований к БМП, российские сухопутные войска дорогой ценой получили важные данные из опыта, полученного в Афганистане и позже в Чечне. Чечня, в частности, предоставляет неоценимые данные об эффективности БМП современного поколения и будущих тактических требованиях. Однако были ли сделаны правильные выводы?

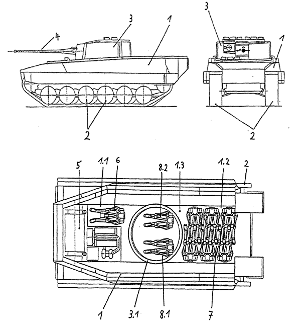
В настоящее время ведется создание единой легкобронированной техники по теме "Курганец", единого бронетранспортера по теме "Росток" и единого боевого танка", - сообщил Сергей Маев. Судя по сведениям об облике отечественной БМП четвертого поколения (Единая Боевая Машина "Курганец"*), ее масса будет около 18 тонн (экипаж 3 человека и 8 человек десанта), машина предназначена для сухопутных и воздушно-десантных войск, а также морской пехоты. Вооружение перспективной БМП будет значительно усилено (предположительно будет установлена 57 мм пушка), бронезащита будет иметь модульную схему, и изменяться в зависимости от выполняемой машиной задачи, как это обеспечено на германском БМП «Пума».

Единая Боевая Машина "Курганец"

ЕБМ

Это не первая попытка создать единую машину удовлетворяющую всем запросам. БМП-3 создавался с такими же требованиями, однако кончилось это созданием отдельной машины для воздушно-десантных войск (БМД-3, а позднее ее модифицированной версии БМД-3М с унифицированной башней «Бахча-У). Несомненно, при создании ЕБМ были приняты правильные решения, которые во многом характерны для большинства перспективных БМП. Однако выдержат ли решения кажущиеся верными сейчас проверку временем?

Характеристики современных БМП (таблица)

Недостатки современных  БМП

Современная традиционная БМП имеет целый ряд недостат­ков, наиболее значительными из которых является недостаточ­ная броневая защита.

Отдел тактико-технических требований каждого государства должен сделать выбор, либо должен быть установлен предел массы БМП, либо должна быть разрешено  фактически беспрепятственное ее увеличение.

На протяжении 1990-х годов, вероятно, может быть установлен предел около 20 т, что обеспечит БМП возможность транспор­тировки широко используемыми транспортными самолетами. Единственным вы­ходом из этого затруднительного положения будет разработка легко­бронированной БМП  массой менее 20 т. а затем оснащение ее дополнительной броней после переброски ее в район боевых действий (БМП «Пума»).

БМП «Пума»   

1- Установка модульной бронезащиты на немецкий перспективный БМП «Пума»

2, 3 - Установка модульной бронезащиты и компоновка немецкого БМП «Мардер-2» (проект был отменен в пользу «Пумы»)

Цифрами обозначено: 9.5, 9.6 – модули защиты бортов корпуса, 9.4 – модули защиты башни,

9.3 – противоминная защита днища.

В бою потребуется, чтобы БМП маневрировала и сближалась с противником вместе с танком, хотя ее броневая защита значи­тельно хуже. Тогда как тяжелая броня основного боевого танка обеспечит ему возможность выживания при попадании управляемыми ракетами или огнем из танковых пушек, то БМП будет уязвима не только для огня совре­менных противотанковых систем и основных боевых танков, но также и для устаревших танков, и других БМП.

Состоящие сейчас на вооружении БМП-1 и БМП-2 имеют уровень броневой защиты ниже требующегося. Установка нового двигателя и улучшение броневой защиты могут устранить эти два недостатка, но это может отразиться на перегрузке под­вески. Модернизировать такие устаревающие машины, необходимо, так как полное перевооружение армии новыми БМП, пока что, не представляется возможным.

Однако, закупка новых БМП является предпочтительной альтерна­тивой, так как даже в модернизированном виде старые БМП не смогут справляться с полным спектром задач по огневой поддержки и защите десанта, кроме того ряд решений по защите БМП в условиях существующих машин реализовать просто невозможно.

    БМП-1 модернизированный 

1 - Одноместная башня производства ГАЗ с установленной 30 мм пушкой и 7,62 мм пулеметом. Другие варианты вооружения включают установку автоматического гранатомета, ПЗРК «Игла», спаренной установки 23 мм пушек и пр.

2 – БМП-1 Модернизированный.

3 – Башня «Кливер» производства КБП.

Сейчас для модернизации БМП-1, а также ряда других легких бронированных машин (МТЛБ, БТР-60/70/80, БРДМ и пр.) предлагаются ряд вариантов, например одноместная башня «Кливер» производства КБП или одноместная башня производства ГАЗ с модульной установкой вооружения, позволяющая устанавливать большое количество различных комбинаций вооружения. Кроме того, для модернизации БМП-1 разработано большое количество других башен: "Шквал" (Украина), «Кобра» (Белоруссия), OWS-25 (Израиль) и пр.

БМП-3, поступившая в небольших количествах в Советскую армию незадолго до развала СССР имеет бронирование в целом удовлетворяющее защите от типичных современных угроз (огонь 25 мм пушек в пределах углов +-30 град. и защита от огня стрелкового оружия и крупнокалиберных пулеметов для бортов). Однако этот уровень уже не обеспечит необходимую защиту от уже поступающих на вооружение западных стран БМП с усиленной огневой мощью (35-мм БМП "Тип 89", CV-90, которая вооружена 40-мм пуш­кой "Бофорс 40/70 Ва". Опытный обра­зец БМП "Мардер-2" мог бы иметь пуш­ку еще большего калибра, такую как пушка Rh-503 фирмы "Рейнметалл", с калибром 35/50-мм и пр.).  В тоже время 30 мм пушка 2А42, которой вооружены БМП-2 и БМП-3 не обеспечивает уверенное поражение современных западных БМП в область лобовой проекции, для этого они вынуждены будут применять имеющееся в составе вооружения ПТУР.

Бронезащита башни и корпуса БМП-3      Бахча-У    БМП-3 с комплексом активной защиты «Арена»

1, 2 – Бронезащита башни и корпуса БМП-3 (стандартная) и унифицированная башня «Бахча-У». Защита представляет собой разнесенную преграду, выполненную из алюминиевого сплава (корпус) и из броневого проката (нож бульдозера и волноотражательный щиток), кроме того, на центральной лобовой детали установлена броневая накладка (6).

3 – БМП-3 с комплексом активной защиты «Арена».

Дополнительно защиту существующих БМП может обеспечить установка комплекса навесной динамической защиты (при установки также необходим монтаж демпфирующих экранов), комплекса электродинамической защиты или комплекса активной защиты, однако данные меры приводят ухудшению ходовых качеств машины и потерю плавучести. Защиту от мин с магнитными взрывателями и фугасов можно обеспечить при помощи установки комплекса радиоэлектронной и электромагнитной защиты, но универсальным средством это не является.

Подводя итог к недостаткам современных БМП можно отнести:

- Недостаточная защищенность.

- Недостаточный обзор десанта за полем боя.

- Слабая противоминная стойкость.

Разделение задач?

Должна ли БМП являться одновременно БТР и боевой бронирован­ной машиной - истребителем танка является предметом боль­шой дискуссии, так как тактическое применение ее в каждой из этих задач будет значительно отличаться. В частности, наличие десанта в машине может лишь увеличить потери, если БМП  преднамеренно вступит в бой с боевыми машинами противника.

Один из вариантов дальнейшего совершенство­вания простого БТР заключается в том, чтобы оставить эту базо­вую машину фактически без изменений, но дополнить и поддержать ее второй машиной поддержки на том же шасси, на которой установлено мощное башенное вооружение.

 Преимуществом такого порядка было бы то, что каждый тип ма­шины выполнял бы только одну задачу, в выполнении которой он бы специализировался, так что боевое управление этой парой было бы легче, чем управление мощным многоцелевым ударным комплексом (например, современная БМП-3). Эти две машины могли бы использоваться вместе, если это требуется, или они могли бы быть разделены и выполняли бы свои разные за­дачи в разных частях поля боя.

Кроме того, стоимость современной башенной БМП с развитой СУО и мощным комплексом вооружения уже приближается к стоимости основного боевого танка. Возможным выходом из положения могло бы быть создание на базе БМП-3 машины с легким необитаемым оружейным  модулем с дистанционным управлением.

БМП-3 с легким необитаемым оружейным  модулем

Более кардинальным решением вопроса было бы создание нескольких узко специализированных боевых машин.

Бронетранспортер для перевозки личного состава (АРС) предназначен исключительно для перевозки пехотного отделения под броневой защитой в район развертывания. Машина не предусмотрена для вступления в бой дуэльного типа против других боевых бронированных машин и, соответственно, ее вооружение будет ограничено тяжелыми пулеметами и (или) автоматическими гранатометами; однако очень важно, чтобы вооружение полностью управлялось из-под брони (подвесные/дистанционно управляемые установки, "плоские" мини-башни или подобные решения). Машина будет защищена от ударов РПГ-7 по широкому фронтальному сектору (± 90°), будет обеспечивать соответствующую защиту крыши от артиллерийских мин и, по крайней мере, днище  боевого отделения должно обеспечивать противоминную защиту.

Боевая машина, вооруженная пушкой, будет выполнять огневую поддержку. Эта машина будет действовать в тесном взаимодействии с бронетранспортером для перевозки личного состава, обстреливая цели с огневых позиций в оптимально выбранных местах; то же самое относится к сопровождению основных боевых танков. Силуэт машины будет оптимизирован для выполнения ее задачи, на машине будет установлена автоматическая пушка среднего калибра (35- 60 мм ), ее экипаж будет 3 человека. Будучи предназначенной для вступления в бой дуэльного типа, машина должна иметь защиту фронтального сектора от противотанковых ракетных комплексов, танковых пушек и против оружия класса РПГ-7, что, конечно, по определению, более чем достаточно.

Схематическое представление

Схематическое представление предложения, по поводу того, что разные боевые задачи боевых бронированных машин пехоты современного поколения должны быть перераспределены между двумя или тремя специализированными машинами


Боевая машина, вооруженная ракетным комплексом, может использоваться при выполнении различных боевых задач, так как имеются несколько типов ракет, которые могут оснащаться не только традиционными кумулятивными боевыми частями для выполнения противотанковых задач, но также боевыми частями осколочно-фугасного или термобарического характера. Следовательно, машина, вооруженная ракетным комплексом, не будет ограничиваться задачами истребителя танков, а может быть также полезной в обеспечении огневой поддержки, например, для обстрела полевых фортификационных сооружений или для разрушения зданий или других центров сопротивления. Ракеты являются особенно заманчивым решением для выполнения этих задач, так как они позволяют осуществлять высокоточную стрельбу с дальностей применения огневых средств вне зоны досягаемости противника, сводя до минимума возможные сопутствующие разрушения.

Возможное размещение в настоящее время ракетных пусковых установок на подъемных мачтах, плюс головки наведения позволяют машине использовать свое вооружение, оставаясь, по крайней мере, частично под защитой естественного укрытия, и таким образом быть защищенной от непосредственной угрозы, создаваемой оружием нанесения удара. Схема брони должна обеспечивать защиту от оружия РПГ-7, а также поражающих элементов кассетных боеприпасов и, кроме того, обязателен соответствующий уровень противоминной стойкости.

Для сокращения затрат на машины и личный состав функции двух боевых машин могут быть объединены путем размещения ракетной пусковой установки на башне боевой бронированной машины, вооруженной пушкой. Однако это непременно приведет к тому, что машина двойного назначения будет больше и тяжелее, чем каждая из двух одноцелевых конструкций.

Использование боевых бронированных машин, скомпонованных для выполнения одной основной задачи на поле боя, обеспечит значительное снижение боевой массы машины по сравнению с сегодняшними перегруженными задачами боевыми бронированными машинами пехоты. Альтернативно, можно разработать машины, отличающиеся превосходным уровнем круговой защиты и живучести без увеличения боевой массы полностью сверх логически приемлемых пределов.

При ограничении требований к броне, может быть разработана машина такого класса по массе, который обеспечит транспортировку по воздуху без особых трудностей. Однако, если будет выбран противоположный подход и будет определен уровень защиты,  эквивалентный основному боевому танку (это случай с новыми израильскими и российскими конструкциями, как увидим сейчас), тогда боевая масса специализированных машин возрастает примерно до 45-50 т.

Тяжелая БМП на базе танка?

Следует отметить, что концепция использования безбашенных танков для перевозки войск не нова сама по себе. Уже во время второй мировой войны британцы использовали для этих целей модифицированные шасси танков "Шерман" и RAM, получившие прозвище "Кенгуру". Эти машины отличались от оригиналов боевым отделением с открытым верхом; их основным смыслом было не улучшение защиты, а скорее всего улучшение мобильности на труднопроходимых местностях, которые были непреодолимы для распространенных тогда полугусеничных машин.

Философия разработки одноцелевых боевых бронированных машин впервые была осуществлена в Израиле в начале 1980-х годов. Со старых танков "Центурион", снятых с эксплуатации параллельно с введением танка "Меркава", были удалены башни и эти машины были превращены в боевые машины инженерных войск. Машины, которые реализованы в многочисленной, непрерывно совершенствуемой группе под обозначениями NAGMAshot, nagmachon, nakpadon  и PUMA, предназначены для перевозки под защитой самого высокого возможного уровня боевых инженерных групп, перед которыми стоят задачи, например, по удалению или разрушению препятствий на дорогах, нейтрализации взрывных ловушек и т.д. Эти машины обычно не использовались и не используются как "боевое такси" для перевозки пехоты, поскольку у них нет дверцы/аппарели в корме, в последствии был разработан специализированный Т-БТР «Ахзарит».


Если основной причиной критики БМП является не отвечающее требованиям бронирование, то возможно ли создать БМП на базе основного боевого танка, чтобы обеспечить ей значительно более высокий уровень защиты?

Это, конечно, означало бы увеличение массы БМП с 18 тонн, пред­лагаемых ранее, до приближающейся или даже равной массе основного боевого танка. Можно утверждать, что если наведение мостов и пе­реправа на плотах обеспечиваются, во всяком случае, для танков, класса 50, то они могут в равной степени устраивать и тяже­лые БМП. Такая машина была бы неуязвимой для легких бронирован­ных машин противника, защищена и подобно основному боевому танку, который она будет сопровождать, боялась бы лишь современных танков. Обе машины имели бы тогда равные возможности выживания при совместных действиях и. вероятно, при более тесных совместных действиях машины пехоты с основным боевым танком.

Существует утверждение, что стоимость тяжелой БМП на базе танка будет недоступно высокой, однако времена когда стоимость стали и двигателя были решающими в танке давно остались в прошлом.

Стоимость башни основного боевого танка (система управления огнем, комплекс вооружения) составляет не менее 60-70% от его общей стоимости. Поэтому создание ОБТ на базе танка не будет слишком дорогостоящим, особенно учитывая огромные количества устаревающих танков оставшихся в наследие от холодной войны.

Представляется возможным  создать тяжелую БМП на базе танка приблизительно с такими же затратами, как затраты на современную башенную БМП, масса ко­торых постоянно увеличивается и порой доходит до 40 т (БМП «Мардер-2», «Пума»).

Основ­ной боевой танк и Т-БМП, действуя вместе, потребляли бы, конечно, значительно больше топлива, чем БМП, созданная на базе более легкого шасси. Но у этих двух тяжелых машин были бы унифи­цированные узлы, что позволило бы значительно упростить снабжение войск.

Тактическая гибкость на поле боя тяжелой БМП также предоставляет много возможностей и значительно увеличивает эффективность действий соединения в целом, тяжелые БМП могут сопровождать основные боевые танки в единых порядках на главном направлении возможных  действий противника. Обычные БМП не могут обеспечить эту защиту без чрезмерного риска. Кроме того, расширяются границы рубежа спешивания пехотного отделения, находящегося в машине, уязвимой для противотанковых средств. Отсутствие тяжелой башни значительно расширит возможности по наращиванию защиты корпуса тяжелой БМП, что сделает ее малоуязвимой на большой дальности для обычных противотанковых средств.

Однако на пути использования танковых корпусов использованию танковых корпусов в качестве базы для тяжелых Т-БМП мешает заднее размещением двигателя, у подавляющего большинства современных танков, что создает трудности при спешивании десанта (исключение составляет лишь израильский «Меркава», на базе которого, без значительной перекомпоновки, был создан Т-БТР «Намер»).

Главными составляющими расходов при изготовлении тяжелой БМП будут установка малогабаритной дизельной силовой установки, и изменение конструкции внутренней части машины.

Тяжелая БМП. Перекомпоновка?

Для эффективного использования Т-БТР, на базе корпуса танка с задним расположением МТО, безусловно, нужна его перекомпоновка, замена двигателя на более компактный, для того, чтобы обеспечить удобное и безопасное спешивание десанта, таким путем пошли израильтяне, установив на серийный Т-БТР «Ахзарит» компактную силовую установку**, которая позволила создать люк для пехоты в корме танка, подобное решение также применили конструкторы ХКБМ на своем тяжелом БТР на базе танка Т-84, который, однако, трудно отнести к БМП из-за сокращенного до  5 человек десанта, связанного с сохранением 125 мм пушки.

Другим, менее оптимальным в плане боевых качеств, но более дешевым является решение, принятое на серийной отечественной Т-БТР (БМО-Т) на базе танка Т-72. На БМО-Т без изменений  сохранена силовая установка Т-72, десант спешивается через два люка расположенных над МТО (33).

  

1 - БМО-Т

2 – Схема защиты корпуса БМО-Т

на двигателя на более компактный, дя того, чтобы обеспечить задним расположением МТО, безусловно, нужна его перекомпановка, зам

Однако в последнее время имеются предложения изменить компо­новку корпуса будущих основных боевых танков для расположения моторно-трансмиссионного отделения в передней части машины, сле­дуя схеме, принятой для являющегося до сих пор единственным в своем роде танка "Меркава".

Современные бронированные машины на базе танка

Наименование

«Ахзарит»****

«Намер»

«Темсах»

БМТ-72

БМТ-84

БТР-Т

БМО-Т

АВ-13

Страна

Израиль

Израиль

Иордания

Украина

Украина

Россия

Россия

Украина/ Иордания

Базовый танк

Т-55

«Меркава»

Центурион

Т-72

Т-84

Т-55

Т-72

Центурион

Экипаж (десант), чел.

3 (7)

3 (7)

2 (10)

3 (5)

3 (5)

2 (5)

-

(3)7

Боевая масса, кг

44 000

-

49 500

50 000

48 600

38 500

-

31 000

Вооружение

пулеметное

пулеметное

Автоматическая пушка и ПТРК

Аналогично танку

Аналогично танку

Автоматическая пушка и ПТРК***

пулеметное

Автоматическая пушка и АГС

Спешивание десанта через кормовой люк

Обеспечено

Обеспечено

Обеспечено

Не обеспечено

Обеспечено

Не обеспечено

Не обеспечено

Обеспечено

На интересный ход пошли иорданские конструкторы: для обеспечения пехотному отделению возможности безопасного спешивания из кормовой части машины желательна компоновка этой машины с передним размещением двигателя. Чтобы достичь этого без конструктивных изменений корпуса танка «Центурион» с кормовым размещением двигателя, он используется так, что в своем новом виде кормовая часть танка стала передней частью. Для использования танка в таком виде изменено направление вращения бортовых передач, геометрия подвески также отрегулирована для сохранения распределения натяжения гусениц. Командир и водитель перемещены  вперед на приподнятых рабочих местах за перегородкой моторно-трансмиссионного отделения.

 

Кормовой вход БМП «Темсах», на базе танка «Центурион».

Еще одним вариантом решения вопроса с размещением двигателя является опытный ТБМП АВ-13, разработанный ХКБМ им Малышева для Иордании. Отличием АВ-13 от концепции примененной в ТБТР «Темсах» является сохранение расположения двигателя в корме.

Двигатель заменен украинским многотопливным двигателем 5ТДФ мощностью 700 л .с. Двигатель 5ТДФ низкого профиля обеспечивает место для перевоза семи солдат в дополнение к экипажу в двухместной башни и водителю. Десант размещен полукругом в отделении за погоном башни и, чтобы спешиться, должен перейти через двигатель. Хотя украинский двигатель не такой высокий, как первоначально устанавливаемый двигатель,  для быстрого спешивания необходимо будет открывать броневые крышки люков над плитой двигателя подобно российской БМП-3. Башня включает установку сдвоенной 30-мм пушки, с переменным темпом стрельбы,7,62-мм спаренный пулемет ПКТ и 30-мм гранатомет АГС-17.

БМП АВ-13

Кормовой вход БМП АВ-13, на базе танка «Центурион», с люками, открытыми

для обеспечения большей габаритной высоты для спешивания экипажа

Боевая тяжелая машина пехоты с вооружением танка?

БМТ-72 создан на базе танка Т-72, благодаря компактности дизельного двигателя 6ТД стало возможным не снабдить танк десантным отделением на 5 человек, отделение расположено между боевым и моторно-трансмиссионным отделениями. В отличие от БМТ-84 на нем оставлена прежняя конфигурация моторно-трансмиссионного отделения, посадка и десантирование осуществляется через верхние люки.

БМТ-72

БМТ-72 рядом с боевой машиной пехоты БМП-2

Положительными являются следующие отличительные БМТ-72:

высокий уровень защиты, в особенности,


высокая огневая мощь,

применение имеющейся ходовой части танка Т-72 (находится на вооружении многих стран мира) и сохранение существующего материально-технического обеспечения в части обслуживания силовой установки и ходовой части.

Недостатками являются:

сложность модернизации (необходимо установка дополнительной пары катков).

недостаточные боевые возможности мотострелков и отсутствие выхода из кормовой части.

Недостаточный десант (5 чел.)

Еще одним украинским проектом является БМТ-84. В серийном танке Т-84 боекомплект составляет 43 шт.  125-мм выстрелов раздельного заряжания, из которых 28 шт. находятся в автомате заряжания.

Для размещения десанта, возимый запас 125-мм боеприпасов на машине БТМП-84 уменьшен до 30 выстрелов, а моторно-трансмиссионное отделение переделано. Из  компактного десантного отделения, размещенного сзади башни, можно выйти с левой стороны кормы. Верхняя часть крыши для выхода  из десантного отделения открывается вверх, дверца в кормовой части открывается вправо, а для спешивания десанта из машины установлена подножка. Устройство выходной части десантного отделения аналогично израильской боевой  машине пехоты «Ахзарит».

Силовая установка состоит из компактного дизельного двигателя 6TД-2 мощностью 1200 л .с., соединенного с механической трансмиссией. Боевая масса машины БМТ-84 составляет 48 т, удельная мощность 24 л .с./т, максимальная скорость по шоссе 70 км/ч , запас хода 450 км .

Единая боевая платформа будущего

В Германии недавно была осуществлена попытка создания "новых брони­рованных платформ" (NGP) по парал­лельной программе разработки. NGP***** представляются как семейство машин, включающее основной боевой танк, БМП и систему противовоздушной обо­роны и другие машины. Предположительно танк будет готов примерно в 2013 г ******.

NGP (Neue Gepanzerte Plattformen) 

Семейство боевых машин, выполненных на единой базе.

Подобная платформа является наиболее разумным решениям для создания боевых машин будущего. Взаимозаменяемость составных  всего комплекса машин на поле боя (танки, БМП, БМПТ, БРЕМ, ЗСУ и пр.) обеспечивает много очевидных преимуществ в отношении затрат, а также в отношении материально-технического обеспечения. При развёртывании боевых действий унификация составных элементов может значительно снизить объём материально - технического обеспечения боевых формирований и формирований боевой поддержки.

Однако, несмотря на эти преимущества, разработка основных боевых танков и БМП на унифицированном шасси не осуществлялась до недавнего времени.

БМП на базе единого шасси

Вариант компоновки и защиты немецкой БМП на базе единого шасси.

Существуют и отечественные разработки семейства боевых машин, выполненных с использованием единого базового танкового гусеничного шасси с унифицированными ходовой частью, моторно-трансмиссионной установкой, средствами связи и навигации и броневым корпусом, обеспеченным современным уровнем пассивной и динамической защиты, со стойкостью, от тандемных кумулятивных боеприпасов и бронебойно подкалиберных снарядов.

В качестве базовой БМ комплекс содержит танк, вооруженный танковой пушкой калибра 120...125 мм, с шестиопорным шасси или с семиопорным шасси, вынесенным за башню автоматом заряжания и комплексом активной защиты. В качестве БМ огневой поддержки танков комплекс содержит тяжелый бронетранспортер с пулеметным или минометным вооружением и десантом до 10 человек и БМ поддержки танков с автоматической пушкой калибра 30...57 мм. В качестве машин технического обеспечения комплекс содержит транспортно заряжающую машину танка с пулеметным вооружением.

Чем вооружить БМП?

Автоматическая пушка / управляемая ракета.

Устанавливаемые на машине огневые средства, несомненно, являются самым дискутируемым аспектом конструкции современной БМП и этот аспект остаётся  спорным. Большинство конструкторов согласно, что выбор системы вооружения является типичным исходным моментом, так как габариты орудия обычно диктуют большинство других критических габаритов. Большинство дебатов концентрируется, кроме технических вопросов конструкции, на том, какие задачи должны решать БМП.

С учётом основных задач БМП - защищённого транспортного средства пехоты на поле боя и средства огневой поддержки спешенной пехоты во время боя - ключевые функции, требуемые от вооружения БМП, включают следующее:

подавление пехоты или противотанковых ракетных комплексов противника вне укрытия или в небронированных укрытиях;

подавление пехоты или противотанковых ракетных комплексов в укрепленных укрытиях и окопах

подавление или поражение небронированных транспортных средств и легкобронированных машин.

самооборона от танков.

Задачи ведения борьбы с танками являются довольно спорными в вопросе вооружения БМП. Некоторые специалисты полагают, что убеждение, что БМП должна быть вооружена системой оружия, разработанной для поражения основных боевых танков противника, неправильным пониманием требований к задачам БМП (сторонники израильской концепции). Другие считают ПТРК неотъемлемой частью вооружения БМП (США, Россия и пр.)

Как утверждают противники установки ПТРК обстрел основного боевого танка противника установленным на машине огневым средством подвергает спешенное отделение риску, которого можно избежать. Танки ведут бой с танками. БМП должны быть готовы выжить при столкновении с танками противника, когда они перемещаются, выполняя свои основные задачи. Израильтяне придерживаются этой философии БМП даже в условиях главным образом пустыни, где можно с максимальной эффективностью реализовать возможности по дальностям обстрела, которые может обеспечить ПТРК. Они выбрали БМП без каких-либо противотанковых возможностей. Разделение задач между пехотой и БМП является крайне необходимым; попытка сделать БМП  универсальной делает её неспособной выполнять большинство задач.

Спешенное отделение, а не БМП, должно вести борьбу с этими танками с помощью противотанковых средств. Установка противотанкового комплекса на БМП только подстрекает командира обстрелять танк, возможно, пренебрегая основными задачами БМП.

Единственным и самым большим преимуществом, которое БМП получает от пусковой установки, является возможность уничтожения танка противника на дальностях свыше 3000 м .

Кроме того, установки пушки и ракеты (типичным примером является  БМП-1) страдает двумя недостатками, которые мешают выполнению основных задач БМП. Во-первых, включение и пушки и ракетной системы требует, чтобы БМП перевозила большой запас боеприпасов за счёт пространства для десанта. Укладка этих боеприпасов рядом с пехотным отделением в своей основе опасна.

Исходя из возможностей, основанных на характеристиках дальности обстрела, ракетный комплекс подходит в довольно немногих случаях.

Однако и сторонники применения ПТРК на БМП имеют веские аргументы. На практике во время войны в районе Персидского залива БМП, вооруженные ПТРК показали свою эффективность, дополняя танки и ведя огонь на дистанции более 3 км когда для этого предоставлялась возможность. Кроме этого установка ПТРК не требует больших жертв массы и внутреннего объема и может быть демонтирована для использования пехотой после спешивания, не требуя для этого и без того ограниченного внутреннего объема машины. Также реальность жизни иногда далека от идеала, рассчитанного тактиками, вполне возможно допустить случай, когда БМП по какой-либо причине окажутся без поддержки танков в выгодных для применения ПТРК условиях. На сегодняшний день подавляющее большинство БМП в мире включают ПТРК в состав вооружения.

Танковая пушка. Разработка БМП с танковой пушкой, казалось бы, представляет идеальный гибрид танка и БМП. К сожалению, опыт говорит, что это сочетание терпит неудачу в одной ключевой области - численности десанта, а возможность перевозки полного пехотного отделения на поле боя по существу становится неосуществимой.

Пушка-пусковая установка низкой баллистики/автоматическая пушка.

Уникальным представителем вооружения БМП является российский БМП-3, в состав его вооружения входит 100 мм пушка с низкой начальной скоростью заряд, которая также способна вести огонь управляемыми ракетами через ствол. С 100 мм пушкой жестко спарена 30 мм пушка 2А42 и 7,62 мм пулемет, еще два курсовых пулемета расположены в передней части корпуса и управляются десантом ли механиком водителем. Заряжение пушки на БМП-3 осуществляется автоматом заряжения, заряжение ракет - вручную (автоматически на «Бахча-У»). Также на БМП-3 реализован дистанционно воздушный  подрыв снарядов для борьбы с танкоопасными целями, местонахождение которых не известно.

Споры о комплексе вооружения БМП-3 начались еще до ее появления, к очевидным преимуществам можно отнести сравнимое с ОБТ могущество ОФ снаряда, возможность  эффективно поддерживать огнем спешившуюся пехоту на дистанции более 4 км . Запуск управляемой ракеты через ствол также расширяет возможности БМП, однако несколько ограничивает развитие ее по калибру. Большие углы подъема пушки создают условия для эффективного применения в условиях городского боя.

Подтверждением правильности решений по комплексу вооружения БМП-3 является ее экспортный успех, также боевое отделение БМП-3 применено для создания перспективной китайской БМП на собственном шасси и некоторых турецких разработок на базе М113.

К недостаткам можно отнести большой объем, занимаемый башней и боекомплектом, слабое бронирование бортов корпуса, опасность потери машины и экипажа при поражении боекомплекта. Существенным недостатком также является высокая стоимость комплекса вооружения, в результате чего стоимость БМП-3 приближается к стоимости основного танка. Целесообразным выглядит решение по оснащению БМП-3 комплексом «Арена».

Автоматический гранатомёт (AGL). Из всех вариантов вооружения, используемых для БМП, автоматический гранатомёт, возможно, является самым подходящим. Он занимает самое малое пространство из всех вариантов, за исключением пулемёта. В тоже время автоматические гранатомёты, имеют боеприпасы, способные поражать живую силу, легкобронированные машины, различные фортификационные сооружения и другие бронированные цели с весьма удовлетворительными результатами. Одним отличительным, но важным преимуществом автоматических гранатомётов является их относительно низкая начальная скорость; это позволяет обстреливать окопавшуюся живую силу, защищённую в значительной степени от орудий с более высокой начальной скоростью и более отлогими баллистическими траекториями.


Пулемёт. Пулемёт также является подходящим видом вооружения БМП. Выбор пулемёта по отношению к автоматической пушке является компромиссом между борьбой за свободный объём и эффективностью огневых средств. Израильтяне, устанавливая один 7,62 - мм пулемёт на свою тяжёлую боевую машину «Ахзарит» явно выбрали большую численность десанта за счёт снижения огневой мощи, вероятно, Германская БМП “Мардер” представляет противоположную точку зрения, при которой  относительный приоритет отдаётся огневой мощи, а не численности десанта. Оба варианта демонстрируют разные подходы; дебаты относительно численности десанта показывают.

Сноски

* Интервью с Сергеем Маевым «Российская армия делает ставку на унификацию бронетехники»  АРМС-ТАСС 08.07.2004

** Использовали дизельный двигатель водяного охлаждения 8V-71ТТА фирмы “Дженерал моторс”, мощность которого 650  л.с. (485 кВт). Двигатель установлен поперечно и соединен с гидродинамической трансмиссией XTG-411-4  фирмы “Аллисон”, такой же, как силовая установка 155-ми самоходного орудия М-109, находящегося на вооружении израильских сил обороны и многих других сухопутных войск.

*** Варианты вооружения:

1 — автоматическая 30-мм пушка 2А42, 2 пусковые установки ПТУР «Конкурс»;
2 — автоматическая 30-мм пушка 2А42, автоматический 30-мм гранатомет АГС-17;
3 — двухствольный 30-мм автомат 2А38;
4 — 12,7-мм зенитный пулемет НСВ, 2 пусковые установки ПТУР «Конкурс»;
5 — 12,7-мм зенитный пулемет НСВ, автоматический 30-мм гранатомет АГС-17.

**** Пользуясь накопленным опытом в деле модернизации и реконструирования бронированных машин, израильтяне провели три доработки по шасси танка “Центурион” и одну - по базе танка Т-55.

Машина Nagmachon не является фронтовой БМП, она является тяжелобронированной машиной, предназначенной для действий в условиях относительно интенсивного применения средств нападения. Хорошо защищенная пассивной и дополнительной реактивной броней машина Nagmachon оказалась слишком тяжелой для сопровождения танков в бою.

Второй путь доработки привел к созданию транспортера “Пума”. Первоначально машина “Пума” была введена как боевая инженерная машина, которая не только могла быть оснащена устройствами разминирования и другим инженерным оборудованием, но и могла перевозить до восьми пехотинцев под сильным огнем.

Экипажи танков “Меркава” считают, что машина “Пума” является единственным транспортером для перевозки пехоты, способным поддерживать их танки на сильнопересеченной местности Голанских высот. На машине отмечены случаи сброса гусеницы, но этот недостаток может быть исключен за счет установки предназначенных для тяжелых условий работы гусениц типа гусениц танка “Меркава” и дальнейших усовершенствований трансмиссии машины.

Машина «Ахзарит» предполагалась как БТР для оснащения мотопехотных бригад. Более дорогостоящую машину “Пума” предполагалось распределять только в саперных войсках.

Испытания «Ахзарит» в бригаде «Голани» показали недостаточную надежность ее ходовой части. «Ахзарит»  нуждается в усовершенствованиях гусениц, трансмиссии и двигателя.

*****После прекращения работы по программе NGP по финансовым причинам в настоящее время срочные планы по замене танка "Леопард-2" или машины  "Гепард" не существуют.

******NGP (Neue gepanzerte Plattformen – новые бронированные платформы) в программе германских сухопутных войск по гусеничной машине будущего, которая началась в середине 1990-х годов, иногда толкуется циниками как "Niegebaute Panzer" (еще не созданный танк).

Список использованной литературы:

Грегори А.Пикелл. Разработка боевой машины пехоты будущего”

Infantry, July - August 1996,  р. 22 -32

Марш Гелбарт. “Израиль модернизирует старые танки в тяжелобронированные боевые машины пехоты”

Jane's Defence Weekly, 7 October 1995, р. 34, 37

Робин Флетчер. “Европейские государства рассматривают новейшие методы снижения габаритов и массы танков” Armed Forces Journal International, May 1997, p. 35-38

Робин Флетчер. “Направление развития БМП (MICV) будущего. Некоторые соображения по поводу конструкций и разработок” Military Tecnology, 1992, No 3, p. 47-59

Рольф Хилмес. Боевые бронированные машины для противодействия современным планам вероятных действий противника. Military Technology, 2002, No 6, p. 159-163





 



 
ГЛАВНАЯ НА ВООРУЖЕНИИ ПЕРСПЕКТИВНЫЕ
РАЗРАБОТКИ
ОГНЕВАЯ МОЩЬ
ЗАЩИТА ПОДВИЖНОСТЬ 

ЭКСКЛЮЗИВНЫЕ МАТЕРИАЛЫ  БИБЛИОТЕКА ФОТООБЗОРЫ